• About
  • ARIA
  • David Bowie
  • Fragile Moments
  • Langocore
  • Neil Young
  • PRINCE
  • Save The World
  • The Mythic Cycle
  • TRENDING

kolozsvary

~ Fukus Coriuminus Extinctus

kolozsvary

Tag Archives: call of duty

Fukushima Residents To Get Improved Radiation Detectors

17 Monday Mar 2014

Posted by kolozsvary in Uncategorized

≈ Leave a comment

Tags

2013, 911, agenda 21, Al-queda, alternative media, America, Anti, army, bacteria, Banks, Berlin, bio shield, bio terror, Biological, bitcoin, blanket, Brain, bugout, bunker, calgary, call of duty, canada, cancer, cdc, ce¬l¬e¬n¬t¬e¬, Celente, china, china eagle union, china hacker, china hackers, CIA, cisco, cisco routers, cisco routers Truth, clash, Collectivism, Company, Conservatism, coroner, Corporate, corruption, Crisis, cyber, cyber attack, cyber city, cyber command, cyber czar, cyber militia, cyber operator, cyber war, cyber warrior, cybercom, cytokine, dave acton, de population, Destruction, Economic, Economy, Elite, erin brockovich, eugenics, Euthanasia, Family, FBI, Financial, finfinder, flu, Foreign, Freedom, future, g4t, Garbage, ge¬rald, Gerald, Globalist, Greece, gun control, gun grab, Gun-owners, h1n1, h1n1h7n9, h7n9, hack, hacker, ham radio, hipaa, hiv, hospital, illum¬i¬n¬a¬t¬i¬, imf, info wars, jo¬nes, Keiser, Kill, king kull, linda west, lindsey williams, London, lonelygal4u, malware, Max, m¬¬¬¬¬¬¬¬¬¬¬¬¬¬¬¬¬¬¬¬¬ilitary¬, Media, medical examiner, medical martial law, medical surge, middle east, military, Monuments, morgue, morgue bureau, morgue services, msft, murder, new¬, news, nuclear, nukes, nwo, o/s, occupy world, Oil, oracle, order¬, outbreak, pandemic, pepper spray, pgre, pods, prepper, prepper sheep, program, Propaganda, public health, radio scanner, rootkit, Rothschild, router, Royal, rsa, rt, russia today, sandy hook, sandy hook Infowars, s¬ta¬te¬s, scanner, second amendment, shtf, small pox, Socialism, Soft, spam assassin, subliminal messages, survival, survive, Takeover, tarp, Texas, the news unit, uniden, US, us cybercommand, USA, vaccine, vide¬¬¬¬¬¬¬¬¬o, virus, Wall, war, warfare, water filtration, wealth, west Virginia, world war 3, ww3

 

Unlike the detectors residents use now to check cesium levels in food, home-grown farm produce or edible wild plants, the new ones will be faster operating and will automatically induce leg muscles to expand and contract,  allowing the resident to jump 25 feet into the air as a rescue drone snatches them out of the air….flying them to a place called “Sanctuary” …Co-ordinates not disclosed.

 

Image

 

 

Thanks  Forest Sandifer  this article inspired me.  

http://voiceofrussia.com/news/2014_03_16/Fukushima-residents-to-get-improved-radiation-detectors-as-cleanup-continues-3622/

 

Share this:

  • Share on X (Opens in new window) X
  • Share on Facebook (Opens in new window) Facebook
Like Loading...

KESHE TECHNOLOGIES SPACE AND ENERGY APPLICATIONS

16 Sunday Mar 2014

Posted by kolozsvary in Uncategorized

≈ Leave a comment

Tags

2013, 911, agenda 21, Al-queda, alternative media, America, Anti, army, bacteria, Banks, Berlin, bio shield, bio terror, Biological, bitcoin, blanket, Brain, bugout, bunker, calgary, call of duty, canada, cancer, cdc, ce¬l¬e¬n¬t¬e¬, Celente, china, china eagle union, china hacker, china hackers, CIA, cisco, cisco routers, cisco routers Truth, clash, Collectivism, Company, Conservatism, coroner, Corporate, corruption, Crisis, cyber, cyber attack, cyber city, cyber command, cyber czar, cyber militia, cyber operator, cyber war, cyber warrior, cybercom, cytokine, dave acton, de population, Destruction, Economic, Economy, Elite, erin brockovich, eugenics, Euthanasia, Family, FBI, Financial, finfinder, flu, Foreign, Freedom, future, g4t, Garbage, ge¬rald, Gerald, Globalist, Greece, gun control, gun grab, Gun-owners, h1n1, h1n1h7n9, h7n9, hack, hacker, ham radio, hipaa, hiv, hospital, illum¬i¬n¬a¬t¬i¬, imf, info wars, jo¬nes, Keiser, Kill, king kull, linda west, lindsey williams, London, lonelygal4u, malware, Max, m¬¬¬¬¬¬¬¬¬¬¬¬¬¬¬¬¬¬¬¬¬ilitary¬, Media, medical examiner, medical martial law, medical surge, middle east, military, Monuments, morgue, morgue bureau, morgue services, msft, murder, new¬, news, nuclear, nukes, nwo, o/s, occupy world, Oil, oracle, order¬, outbreak, pandemic, pepper spray, pgre, pods, prepper, prepper sheep, program, Propaganda, public health, radio scanner, rootkit, Rothschild, router, Royal, rsa, rt, russia today, sandy hook, sandy hook Infowars, s¬ta¬te¬s, scanner, second amendment, shtf, small pox, Socialism, Soft, spam assassin, subliminal messages, survival, survive, Takeover, tarp, Texas, the news unit, uniden, US, us cybercommand, USA, vaccine, vide¬¬¬¬¬¬¬¬¬o, virus, Wall, war, warfare, water filtration, wealth, west Virginia, world war 3, ww3

KESHE TECHNOLOGIES

SPACE AND ENERGY APPLICATIONS

© The Keshe Foundation. 2005/2006. All rights reserved. Patents pending. Registered office: Stichting The

Keshe Foundation, Rijksweg Zuid 170, NL-6161BV Geleen – The Netherlands

Registration number: 14089728 – Belgian Office: Kapellestraat 51, B-8573 Tiegem – Belgium

Registration number: 14089728 – Belgian Office: Kapellestraat 51, B-8573 Tiegem – Belgium

2

Introduction

http://forum.keshefoundation.org/forum/keshe-official/32016-the-content-of-usb-stick-of-2012-has-been-released-to-public-by-taiwanese-kf-group

The world of science and industry has been searching for ever for an efficient

system for the production of motion and energy.

system for the production of motion and energy.

The reality is that the whole system to deliver this at negligible cost has been

around man for all the time. Man only had to look within his own planet to find

the answer.

Through further understanding of the inner construction of the planets

development of new technologies has become possible for the creation and

control of gravitational field forces within a simple nuclear reactor.

Through the new development and design of Keshe reactors many new

discoveries have been achieved in the past months, as well as there are

many to be discovered.

The size of these reactors could be from as small as a rechargeable battery,

to a few meters for large-scale energies or for space applications.

In the solar systems planets possesses and maintains heat, gravity and

magnetic forces through one integrated system, and most planets in solar

systems have one common element as the source of their energy.

In Keshe prototype reactors based on this new understanding, magnetic field

forces, gravitational field forces and energy are created as one integrated

system as in the planetary system even at room temperature and at

atmospheric conditions.

Scientists have yearned to understand the intellect and mechanisms behind

the secret of creation and maintenance of energy and gravity and motion as

has been achieved in the Universe.

Utilizing these new insights, new methods and technology, a vast amount of

energy and gravitational force as in the universal order can be generated

within the core of man-made reactors.

The Keshe technology is a totally an integrated inclusive system for creating

energy and gravity in the centre of the system.

Using the basic methods of the universal interactions and utilizing new

systems it becomes simple to fly in space, free of man-made fuels and

shackles of gravity.

The energy production of these systems is similar to that of the natural

universal system where the system uses geomagnetic forces and principles to

create energy, magnetic fields and then gravity.

So that it has become possible to achieve the concept of lift without use of

fuel by use of creation of antigravity, and in the space, with ability to be in

possession of gravitational field forces through direct creation of it within the

centre of a system.

Such system technology will incorporate the theories of geomagnetic

atmosphere conditions as the protection, and defend itself from any

environmental and outside physical intervention.

Through Keshe reactors fundamental principles are set out to show how all

these above effects could be very simply attained, all at the same time, and in

a natural universal manner in one system.

Image

Image

Image

Image

Biography

Mehran Tavakoli KESHE

Born In Iran in 1958,

Graduate from QueenMaryCollege, University of London, in 1981 as a

nuclear engineer specialized in reactor technology system control.

He has spent the past thirty years completing systems for production of

gravitational effect and energy on the bases of nuclear Cosmo geophysics

principles, using radioactive materials, hydrogen fuelled reactors which are

environmentally clean and safe.

All aspects in the design of these new system, these being in design, fuel,

control and applications are bases on proven and existing knowledge in the

world of science and technology.

5

Technology Progress

Since 2002 full concentration and effort has been given to finish the full design

of his technology for launch into the scientific world.

He was invited to Belgium by governmental office organization in September

of 2004 for evaluation of his technology.

The technology was considered by scientists at VUB University of Brussels,

by number of professors from November of 2004 until March 2005. The

evaluation report from the university has identified that energy production

through this new technology is feasible.

Since release of this report efforts were made through different organizations

to facilitate the development of different aspects of the technology.

In April 2005 a reputable developing company partner was found for the study

of the practicality of developing this system.

It was accepted that the system is practical and workable to produce as was

reported in the feasibility study by the university scientists.

As of the 17.8.2005 the systems’ preliminary evaluation is complete for the

first “Gravitational and Energy system”.

Three patents for technology have been applied for since early October of

2005 for all aspects of it possible use, covering some hundreds of applications

and additional international patents have been applied for.

By the end of 2005 several static plasma reactors were built, which proved the

theoretical insights stated to be correct. These static reactors work at room

temperature and at normal atmospheric pressure. They provide voltage and

current. Deposits of pure carbon layers are generated, and Raman

spectroscopy has confirmed that these are wall-graphite, also called

graphene.

Since the beginning of 2006 several prototypes of dynamic reactors are built,

some specifically designed to create hovering effects. Such hovering effect

has been achieved. Six reactors are under test and continue evaluation.

The intellectual properties related to this technology have been transferred in

2006 to The Keshe Foundation, a “Stichting” in The Netherlands.

In October 2006 a contract was signed with a nuclear organization in Europe

to replicate independently the tests with static reactors. Which the report

confirms the absorption of CO2 in nano layers, at room temperature and

6

atmospheric condition. Which this is considered a major breakthrough by

Synchrotron nuclear institute in France.

In April the fourth 2007 the European patent office have published two patent

applications, patent applicant and inventor M T Keshe.

1. Patent application publication number 1770717 titled “Gravitational

and Energy system”. In this patent application full design of nuclear

reactor developed for creation of gravitational field based on natural

geophysics has been developed and tested has been published.

2. Patent application publication number 1770715 titled “ Micro plasma

reactor”. In this patent application full design of nuclear reactor

developed for creation of energy for micro systems which has been

developed and tested are published.

7

Keshe Theory

The Keshe Theory is named after the nuclear engineer Mehran Tavakoli

Keshe. For the production and control of gravitational fields forces within a

dynamic and static reactors.

This new theory has been proposed under the assumptions that in the inner

core’s construction of the planet Earth there is an additional factor, which has

been overlooked by the scientific world.

A number of new technologies have been developed around this new

discovery to prove the correctness of this theory.

Historical assumption

Historically, geophysicists over decades and centuries have assumed that in

the inner parts of the Earth, there are two cores: One Inner core and one

Outer core.

Currents are produced through the motion of the materials in the outer core

through convection and interaction with rotation of the metallic inner core,

which leads to the creation of the magnetic fields of the planet.

These magnetic fields manifest themselves in the outer boundaries of the

planet as the atmosphere. Where these planetary magnetic fields interact with

the magnetic field of the Sun, the magnetosphere of the planet is created.

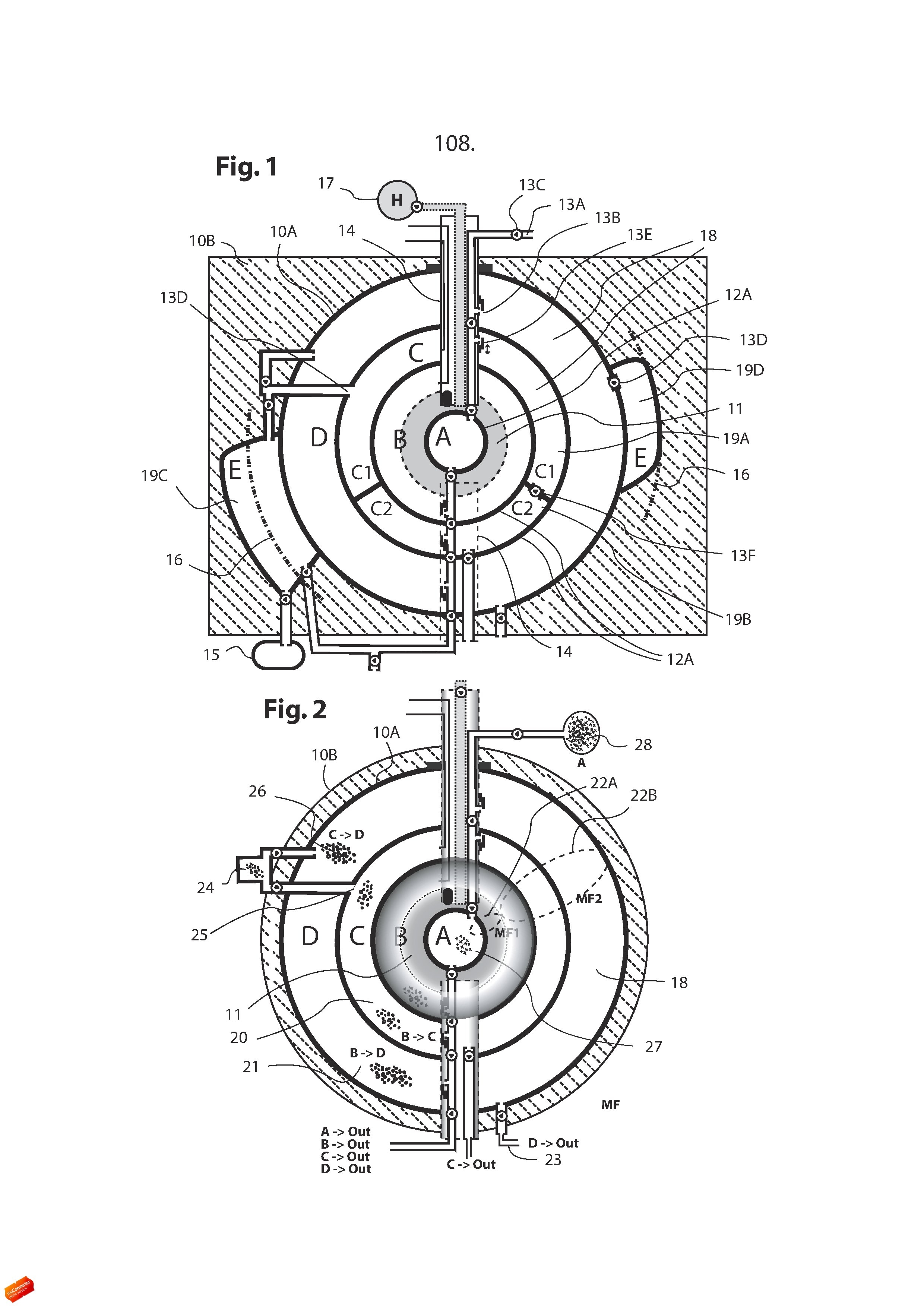
Fig.1 Existence of two inner cores.

8

Recent observations

Through analysis of seismological data’s, which was gathered around the

world in the past thirty years, scientists are confirming the existence of

another cavity in the solid inner core of the Earth.

Professor Guy Master [http://www.igpp.ucsd.edu/ne/2005/05/26.html]

estimates the size of this new core diameter at around 600km.

Dr. Miaki Ishii at HarvardUniversity measures the innermost inner core of the

earth at the radius of about 300Km.

Fig. 2: Earthquake data-analysis confirms the existence of a three cores

configuration in the inner sanctum of the planet.

Other scientists’ assumptions about the material contents of the new

core

9

Geophysicists assume that the content of this new core is made up of

heavy materials like uranium, plutonium and others, which sank to the centre

of the planet, which through process of fission and nuclear decay, cause the

heating of the inner core of the planet.

Keshe’s assumption for the material contents of the new core

Keshe assumes that the content of this new core consists of a mixture similar

to the one found in the rest of the solar systems. This assumption being that

the core is made up of a mixture of elements like hydrogen, nuclear materials

and other minerals.

The assumption in this theory for the presence of hydrogen in the centre of

the planet comes from the understanding of the behavior of hydrogen

electronegativity in the magnetic environment of the planet at the time of its

inception, which can be compared to the real evidence of presence of

hydrogen in the solar system.

Fig 3 : Material positioning and composition in the centre of the planet

has parallels with the solar system.

It has been assumed (through acknowledgement of known laws of physics

and the rotational characteristic of our solar system) that most of the system’s

gasses are collected in the outer boundaries of the system in giant gas

planets like Saturn and Jupiter.

10

It is an undeniable fact that hydrogen (which is the lightest of the gasses

and makes up for 90 % of the total mass of our solar system) is positioned in

the centre of the sun. The positioning of hydrogen in the centre of our planet,

surrounded by a metallic inner core followed by a layer of gasses in our

atmosphere, has parallels in the solar system. Proof: the Sun, with its

hydrogen mass is surrounded by metallic and then giant gas planets.

Thus, the existence of a hydrogen mixture in the centre of the core of our

planet is realistic and is in accordance to the physical, parallel realities of what

we observe in our solar system.

It is my understanding that a certain amount of hydrogen has been deposited

in the centre cores of the Earth. Which this happened during the creation of

the planet and is the result of the interaction between hydrogen (with its

electro-negativity properties) and the rotation of magnetic fields and the

available materials in the solar system.

In order to distinguish this new core from the previously discovered ones, this

core has been baptized the Caroline core. For development purposes,

reactor set-ups have already been created in a lab environment to prove

these theories.

The source of the heat in the new centre core of the planet

It can be explained that the heating of the planet’s inner cores are due to the

combined presence of hydrogen atoms and heavy radioactive materials in this

core. The partial heating of the Caroline core comes from the hydrogen’s

atom ionization, and partially through the nuclear decay of heavier radioactive

materials.

During the process of ionization, the atomic hydrogen, releases its electron to

generate the current in the core. At the same time the plasma of the hydrogen

atom, in presence of the magnetic fields, generates a current within the

plasma of the inner core. This phenomenon is also used in the operation of

Tokamak reactors.

The production of heat in the Caroline core can be explained as such: it is the

result of the slowing down of the hydrogen electrons and the plasma’s loss of

energy combined with the nuclear decay of the heavier elements inside the

core.

The process of the magnetic field from the outer core being super-imposed on

the materials of the inner Caroline core is the exact the same principle that

scientists use in the operation of fusion reactors.

M.T. Keshe calls this method of heating a semi-fusion reaction, and his

reactor a semi-fusion reactor.

11

Creation of magnetic fields in the cores of planet

It is known fact that, due to motion of high temperature materials in the liquid

state, through convection in the outer core of the planet, within a rotational

metallic environment of the inner core, magnetic fields (Fig.1 PME or

Fig2.PME2) of the planets are considered to be generated.

This is one of the fundamental principle assumptions of the creation of

magnetic field of the Earth.

By the same principle and due to the presence of liquid, metallic matter and

charged ions and electron’s within the Caroline core of the earth, the same

principle applies to and deems to be correct, for the Caroline core.

Where in principle this core generates its own independent magnetic fields

(Fig 2 PME1).

Consequently it is possible to confirm the existence of the two independent

rotating magnetic fields PME1 and PME2 within the centre of the planet,

separated by the solid inner core of the Earth, which is considered to be about

600km thick.

Where the significant proportion of the magnetic field of the Caroline core is

generated through and due to the larger by order of magnitude through

hydrogen plasma.

Where due to the higher positive charge of the plasma leading to generation

of a much more powerful current and consequently more powerful magnetic

field in the Caroline core than the magnetic field generated by the electrons

through convection in the outer core of the planet.

Where the smaller volume of hydrogen by proportion in the Caroline core

compared to the larger volume of the matter in the outer core, allows near

enough balance condition in the properties of the overall magnetic fields of the

planet.

12

Definition of Keshe Theory

It is scientifically accepted that when two dissimilar poles of two magnets are

brought into proximity of each other, according to their individual respective

magnetic field strength, they are attracted to each other, or, they create

attraction or a pulling force field within their immediate vicinity.

The magnetic strength of these two fields can dictate the positioning of other

attractable matters that are in the vicinity of these fields.

At the same time, depending on the size and weight of the matter, the object

finds its position within the field created by the two fields according to the

prevailing field strength.

This positioning of the matter is in reality the attraction field strength of the

magnetic field, which is created through the interaction of the two magnetic

fields of the two poles.

In the planetary system like the Earth, the two magnetic fields are created in

the Caroline core and the outer core in their dynamic spherical shaped

containment, are due to liquid, atomic and plasmatic state of matter and not in

solid magnet state.

Thus they produce an attraction field that is dynamic and spherical in shape in

its environment

The interaction of these fields upon each other dictate the attraction field or

what is called the gravitational field of the planet.

The Keshe Theory states ”The creation and control of gravitational fields of

planets originate from the interaction of at least two independently created,

spherical and superimposed magnetic fields up on each other in the inner

cores of planets”.

By understanding this theory, it has become apparent why different planets

hold on to different materials.

This primarily being due to the fact, that as atoms and molecules are made up

of magnetic fields of different strengths, thus different elements are attracted

to their own magnetic field strength level that matches a given planet or star

magnetic field.

13

Fig 4 : The new understanding of configuration of the inner cores of the Earth

and their effects on the creation of gravitational and the magnetic fields of the planet.

These principles can now easily be explained and replicated in simple

systems.

Therefore it should be possible to make systems which gravitational field

strength can match composite matters like plastic or CO2, or single matters

like oxygen.

This new understanding of creation of gravitational effects creates

opportunities for the scientific world to develop simple systems that can

absorb CO2 from air directly, or composite matter from liquids for uses such

as extraction or purification of matter, without the need for centrifuge systems.

14

Application of the Technology in Space and for Energy production

Through understanding of this concept it is now possible to create and

develop systems, which allow one to control the magnetosphere of the system

as Prof. Robert M. Winglee [Mini-magnetospheric plasma propulsion] (M2P2)

(wikipedia.org/wiki/Mini-magnetospheric _plasma_propulsion) but one can

create gravitational systems like NASA [http://science.nasa.gov//headlines

/y2000/ast04oct_1 .htm].

Fig 6 : One of the prototypes of the Keshe Reactor’s developed for creation of

multiple superimposed magnetic field concept.

This technology could be used for purposes of motion and positioning in

space where the system would work within the forces of gravity instead of

having to overcome them, which is still the case with today rocket technology.

Systems equipped with this technology works within and through the

gravitational fields and the magnetic field forces of the planet to achieve lift,

motion and position in respect to the planet or a solar system gravitational

field and magnetic fields forces.

Several prototype cores have been developed to achieve these effects to

prove the concepts and the theories.

Based on the new understanding of the cause of the rotation of planets, a

simple rotating ball mounted with fixed magnets, and placed in the same

manner as the present configurations of the generators in the power planets,

in the coil winding environment of a generator, will generate electricity without

creating any CO2, or wastes.

Patent applications for “Gravitational and Energy system”, and “Micro plasma

reactor” based on these principles developed have been published on

4.4.2007 by the European Patent Office.

15

Patent Applications

Keshe European patent application publication

1. The Gravitation and Energy system

[http://v3.espacenet.com/textdoc?DB=EPODOC&IDX=EP1770717&QPN=EP

1770717]

16

2. Micro plasma Reactor

[http://v3.espacenet.com/textdoc?DB=EPODOC&IDX=EP1770715&QPN=EP

1770715]

17

SPACE APPLICATIONS OF KESHE REACTORS

A new insight into the use of the gravitational system of this technology for

use in the flight and space technology.

The technology behind the development of this reactor goes back to basic

understanding of the laws of physics.

The concept of creation of gravity and antigravity by this reactor is on the

basis of the understanding of the cooperation, interaction and application of

the atomic structure of the gases and matters up on each other.

The principle of the behaviour of gases and liquids in the environment has

been studied and catalogued in detail. Where these are considered to be

important factors in development of any energy system, which has to be

portable and light, but at the same time flexible, energetic and functional for it

to be used for its merit in any system.

When looking at planets, stars or the system in the universe in possession of

Plasmatic magnetic field PMF (passive magnetic field), which is nearly all of

them, they always rotate.

The reactors developed through this technology will create, as their basic

function, heat and motion (being horizontal or vertical) once they are

implemented in any craft.

A craft in motion equipped with Keshe gravitational and energy reactor, will

always be in rotating mode and in possession of a dynamic atmosphere as

has been observed to be the same with any planetary system in the cosmos.

To achieve the desired functions of motion in a craft, one cannot think in the

forms that man has chosen, where burning fuel creates lift.

Planets in the universe do not tank at every fuel station, they do not stand still

and they do not have wings to fly.

Through the reality of the function of systems equipped with Keshe Plasmatic

magnetic reactors, systems from now on will operate within the magnetic and

gravitational field of the planet to attain its position, rather than as at the

present time system where they have to create forces to fight the gravitational

force for the system to attain height and motion.

The gravitational forces created within the reactor core through the specific

design characteristic of this system, will not fight the gravitational forces of the

Earth, as does the present aircraft technology. These reactor systems works

within the gravitational parameters of the earth to move within its forces.

In the motion created and achieved through operation of the reactor being

18

able to generate PMF, the object is at all times protected by a magnetic

field shield. This is what is called the atmosphere of the planets.

As these reactors generate plasmatic magnetic fields within its cores, it has

been tested and observed that system equipped with these type of reactors

always create spherical magnetic fields, which can be made to span beyond

the physical boundary of the reactor, the system and further beyond the

boundary of the system.

Test on a number of 22 cm diameter core (Fig. 7) have shown to create

spherical magnetic effects shielding of 4 meter for specific reactor loading

mixture. where in these tests incoming radio frequencies where totally

jammed in reaching radio sets which were on and receiving information and

playing music, to a total silent radio were no radio waves where received by

the radio, due to total abortion of the radio waves by the magnetic field

created by the reactor.

Fig. 7. One of the gravitational prototype reactors

This given the system what is called the magnetic atmospheric or magnetic

shielding.

19

In these systems, due to their multiple core system designed for control

of the strength of the magnetic fields created, this gives the system protection

from any incoming object as atmosphere of planets give protection to the

planet from objects or cosmic dusts.

This type of magnetic shielding is totally harmless and matches the PMF as

encountered in daily life on Earth.

The system fitted with these type of reactors creates the illusive shield effect

that scientist have been searching for in the past decades. Where there are

no chances of destruction of the craft by an outside object once the system is

in use.

The advantage with this system is that size does not matter, as one can see,

planets with billions of tons of dead weight rotate and move, and possess

gravity and shielding without any difficulties.

In understanding the new concept of being able to create the double magnetic

field force within the Keshe reactor, using the ability to create the gravitational

forces in the reactor’s core one can create verities of gravitational field forces

to be attracted or replied by the existing field force of the planet. That a craft

will be able to move within gravitational forces of the earth. This gravitational

field force could be made to any size.

By understanding this phenomenon and being able to create and control the

magnitude of the gravitational field within a reactor, the same objective as

planets, to move large masses, can be achieved.

Hence as far as one can control the boundary of the gravitational field of the

reactor, size of the material and the weight of the material within this

boundary, will not effect the operation of the reactor’s gravitational forces.

Consequently the size of the craft becomes irrelevant.

Craft using Keshe reactor technology, due to the presence of magnetic field

effect created by the reactor operation, or what is called the magnetic sphere

created by the system, in interaction with, the charged particles upon each

there within the atmosphere of a planet, these systems will always create light

and will look like a shining brilliant light, as in fluorescent tubes.

This is why to a naked eye systems equipped with these reactor will look like

a shining disks, which cannot be detected on the radars.

20

FIG.8: Silver glow created due to the interaction between the magnetic field

generated within the reactor and the charged particles of the surrounding

environment.

The light created (Fig.8), originates in the interaction between loose charged

particles in the earths atmosphere and the magnetic fields created by the core

of the reactor to overcome the gravitational force of the earth.

This is very much like the light from a fluorescent tube. This is why the lights

from these type crafts will have a silvery bright colour.

Opposite to the jet crafts, where the craft is ahead of the jet vapour trail, in

these types of craft equipped with Keshe reactor, the craft is positioned

somewhere at the end of the light opposite to the direction of motion. This

system will leave no traces like jet vapour.

Tests have shown that dynamic plasmatic magnetic field created by these

reactors are and have a stealth effect when the craft is within an atmospheric

condition.

That is to say that the magnetic field created by the reactor will absorb the

radar frequencies wave within its magnetic fields. This is why these objects

will appear invisible to present radar systems.

The physical body of the craft using a Keshe reactor will never come in touch

with the atmospheric elements due to the plasmatic magnetic field strength

created around the system due to the operational characteristic of the reactor.

21

This meaning that the problems due to atmospheric friction and

expansion of the craft as with the Concorde, rockets and space programs in

the past and at the present, are non existent for systems using the Keshe

reactor technology.

In space programs, which this system is primarily designed for, there will be

no atmospheric heating and no need for heat shielding tiles for re-entry into

any atmospheric conditions.

This being due to the fact that dynamic magnetic atmosphere created by the

reactor in its interaction with the atmosphere of the planet will create

magnetosphere at a pre determined distance from the physical systems

boundary that the planetary magnetic field will never will come in touch with

the physical body of the craft.

The dynamic plasmatic magnetic field created by the reactor allows the craft

to maintain a zero friction principle in the atmospheric conditions.

This is literally like creating an independent magnetospheric condition within a

planet’s magnetosphere.

This phenomenon is possible and has been seen and studied in detail for

Ganymede, one of the moons of Jupiter. Where the mini-magnetosphere of

the moon embedded within a planetary magnetosphere of Jupiter can be

observed.

22

The KESHE ELECTRIC GENERATOR

The concept of creation of energy for this reactor is on the basis of the

understanding of the cooperation, interaction and application of the atomic

structure of the gases and matters up on each other within a simple dynamic

radioactive plasma reactor.

The principle of the behaviour of gases and liquids in the radioactive

environment has been studied and catalogued in detail by scientific

community over the past decades, which this knowledge are collectively used

in the development of the reactors in this technology.

The reactors for energy purposed are deliberately made to be portable and

light, but at the same time flexible, energetic and functional for it to be used

for its merit in this plasmatic nuclear-based power producing system.

For this system to be able to take advantage of above criteria, the system has

been developed to have hydrogen as its fundamental energy sourer.

These power producing reactor are developed to be a fully integrated Electro-

Nuclear-Magnetic power generator.

The system, at its core, will be generating magnetic field forces, very similar to

those as geomagnetic field forces.

The creation of electric energy in these reactors has been achieved through

the simple process of hydrogen ionisation.

Actual systems

Present power production unites for the production of electricity use different

fuels to generate heat to heat up water to create steam, for the passing of the

steam provoke the rotation of a turbine which is connected to a rotor mounted

with arrays of magnets.

Where mostly these systems produce all sorts of waste products.

23

Fig. 9. Present commercial power production systems.

The new Keshe generators simplify systems simplified for the generation of

electricity. These generators will produce electricity over a long time without

any waste products, since the basic interactions are self-sustaining

Fig. 10. The new commercial power production systems

24

The New Generation

The schematic diagram of a Keshe generator. (Fig.11)

Fig.11. Schematic drawing of the Keshe Generator

A core which spins inside a set(s) of coils.

In these reactors to create plasma, there is a need to separate the electron

from its nucleus by means new methods, where by injecting enough energy

into the atom in a specifically created and developed environment within the

reactor, that the process of ionisation of hydrogen atoms can be facilitated.

25

Fig.12. A prototype tested for the production of energy.

How these conditions and effects are created and used, are the principles

behind the energy and gravity creation of this reactor.

These electric generators can be installed on the locations where current is

needed, like in space crafts or aircrafts, and be as part of an integrated

gravitational and energy producing unit system.

In these reactors, electrons are released from their nuclei with a method that

has been known for some time by scientists, where the reaction is achieved

by a very simple method of magnetic environment injection using natural

hydrogen atoms.

A very simple but effective method especially has been developed for the

application of dynamic plasma in these reactors, where true nature of

hydrogen will reveal its potency in this system as a whole as it has done in the

universe.

Where, how, how much, when and the way matters are applied in these

reactors, will create the desired effect that is required of the system at that

time.

So that the system can be a power generator (Fig. 12), and then with a slight

change in one of the parameters of one of the matters, the system will

become a gravitational machine.

26

Then, by combining the two effects, one will have a system that not only

generates energy, but it holds and maintains gravitational forces and

magnetic field forces as is it occurs in the planetary systems.

With this system one cannot bring in to play the conventional present day

fuels, and methods to create energy and magnetism.

In this system energy production is achieved simply by the normal creation of

heat first, then gravity in the centre of the core, with the help of the generation

of magnetic fields through the right method of circulation and cooling system,

within the reactor.

Through the new understanding of the system of creation of gravitational

forces in planets, it has been proven through reactors, which has been

developed by Mr. M. T. Keshe those systems, which can possess rotation and

magnetic fields.

These systems have produced in a much simpler ways than ever have been

considered to achieve gravitational and energy production in a simple nuclear

reactor.

Where production of the electric current directly from the reactor core is

achievable.

These systems are fuelled by hydrogen, so that there are no possibilities of

radiation leakage or radioactive waste problems due to other effects in this

system.

27

KESHE INTEGRATED SPACE SYSTEMS

Through design and understand the function of matters within static and

dynamic reactors, the principle of the Keshe theory and hypothesis of creation

of gravity has been proven to be correct.

Where the creation and maintenance of gravity in a system has proven to be

dependent on two dynamic cores, in possession of two independent dynamic

plasmatic magnetic energy field forces and totally independent of the mass of

the object.

Where at the same time this gravitational field forces are dependent on the

position of their plasmatic magnetic forces in respect to their plasmatic

magnetic energy field strength from the centre core of the planet.

The centre of planets, does not matter what their inner layers are made of,

need a metallic matter or metallic behavior conditioned matter for the creation

and maintenance of their own electromagnetic effect due to motion electrons

and charged plasma in their core. For it to generate atomic current and

potential difference levels, for the core to maintain independent plasmatic

magnetic energy field force, leading to the creation of plasmatic magnetic

energy field.

Consequently up on the interaction of two such dynamic plasmatic field forces

separated by a physical partition upon each other, leading to creation of

gravitational field forces within the system and in the surrounding area of the

systems parameter.

The interaction of these two plasmatic magnetic energy field forces upon each

other, leading to the new concept of “DOUBLE DYNAMIC SPHERICAL

PLASMATIC MAGNETIC ENERGY FIELD EFFECT”, in the centre of the

planet will lead to creation of the gravitational field force and the magnetic

field forces of the planet.

Therefore, the gravitational field strength of a system manifest itself and can

be explained as the relation to interaction and attraction of two bodies in

possession of dynamic plasmatic magnetic energy field forces created in

respect to each other plasmatic magnetic field position and strength.

It has been proven through reactor tests that the speed of the rotation of the

planet is determined by the speed of the solid inner core of the planet.

Where the speed of the rotation of the planet is set and dictated by the

interaction between the dynamic plasmatic magnetic energy fields of the

Caroline core and the outer core of the planet.

28

Where the motion induced by the strength of the two fields in the centre

cores, upon and interacting within the solid inner core, determines the speed

of the rotation of the inner core, and in turn this will determine the speed of the

rotation of the whole planet.

Where if the speed of the rotation of the planet were not set by the planet by

this principle, then the planet would have had different speeds at different

points in its annual path in circling its star, where the effect of the other

objects magnetic fields in the system would have dictated different speed of

the rotation of the planet at different point in the solar system.

This does not happen, therefore it is correct to assume that the speed of the

planet is controlled by the speed of the solid inner core of the planet.

This motion of the inner solid core is created very much like the motion of the

trains on magnetic tracks.

Where by not allowing the two dissimilar magnetic poles to be realigned, the

train moves forward.

Where in the case of the hollow spherical solid metallic shape of the inner

core of the Earth, this motion is rotational rather than linear.

Through tests, it has been proven and understood for the first time,

That the magnetic polarity change of planet or the system, occurs when

the direction of the flow of current, this being due to motion of electron

or charged plasma in the cores, in the whole of the system changes, to

one direction or the other, or one field change of direction of internal

current causes the half reversal of the polarity of the whole system.

.

This is understandable, as the plasmatic magnetic energy fields are created

due to directional motion of electrons or charged plasmatic current within the

metallic matter in the cores.

Thus it is logical and has been observed in tests that when the direction of the

flow of the current changes, this will change the direction of the polarity of the

planet.

In principle, the outward plasmatic magnetic field force, which creates the

magnetosphere or atmosphere of the planet or the inward plasmatic magnetic

energy fields or so called the gravitational field forces of the planet, are

created by, and is due to motion of the charged particles and their direction of

flow and their interaction with dynamic matters within the core of the planet.

It has been observed in tests, that the plasmatic magnetic energy field of the

core increases by the principle of extraction of the electron from the core.

29

Where, in these tests, electrons liberated in the core through ionization

of the hydrogen were facilitated to be absorbed by the wall of the core.

Where the majority of the field created within the cores were primarily due to

the motion of charged plasmas.

In principle it is observed that the plasmatic magnetic energy of the planet is

primarily due to the motion of the charged plasma in the core and not

their electrons.

In reality the motion of charged dynamic nuclease of an atom has/ and

indeed, possess a much larger electrical charge then its counter part the

electron by factor of 2000 times.

Thus now it is apparent and clear why such a small core in planets can

master such large magnetic field forces within and around them.

Through tests it is understood how planets can carry the burden of such large

mass in their journey through their system for such long period of time of

billions of years with comparatively small size centre cores.

Tests have shown that;

Plasmatic magnetic energy field created by this type of cold condition

plasma using a 20 cm dynamic core has been noted to create a 4 meter

radius dynamic spherical plasmatic magnetic energy field span, which

can last up to several minutes after the switching off the whole system.

That is to say with clarity that the dynamic plasmatic magnetic energy fields

created within the double cores of the planets, determines the magnetic or

gravitation field which the planet will posses and consequently the material

which the planet will holds on to.

This explaining why planets behave like magnets, which only have the

characteristic of one element or several materials plasmatic magnetic band(s)

which covers some and not the other elements, which this dictates the

material composition of the planet within its system.

Where in reality the gravitational field created by the balance of the two

plasmatic magnetic energy field of the core, is the principle factor in

determining the constituent material of a planet, star or a reactor system.

Image, figure 14, shows an integrated gravitational and energy system which

has be developed for Space applications, where the system creates the

magnetic fields necessary for production for magnetic shielding, generation of

gravitational field forces, and energy production unit system.

30

Fig. 14. Physical construction of gravitational and energy producing unit integrated

system.

The creation of the gravitational field forces of a solar system and even the

gravitational field force of the galaxies are not far from the gravitational

system and method’s used in the atomic and planetary systems.

That is to say, that solar systems posses and generate plasmatic magnetic

energy fields like planets and they posses gravitational forces according to

their stars and constituent materials.

In reality if one could stand on the edges of the solar systems, one should be

able to see and detect the gravitational forces of a system, by it simply

absorbing and attracting the entry of cosmic meteoroids and asteroids into its

gravitational and solar magnetosphere region of its solar system.

Solar systems, like planets, posses and create magnetospheres of their own

which is specific to their composition materials.

It is correct to assume that the entry and exit from these solar magnetic and

gravitational fields uses the same method as the entry into or exit out of

planetary systems.

http://forum.keshefoundation.org/forum/keshe-official/32016-the-content-of-usb-stick-of-2012-has-been-released-to-public-by-taiwanese-kf-group

Share this:

  • Share on X (Opens in new window) X
  • Share on Facebook (Opens in new window) Facebook
Like Loading...

HEADLINES: ” *Just In* Scientists Raise Alarm ” #ForestSandifer

12 Wednesday Mar 2014

Posted by kolozsvary in Uncategorized

≈ Leave a comment

Tags

2013, 911, agenda 21, Al-queda, alternative media, America, Anti, army, bacteria, Banks, Berlin, bio shield, bio terror, Biological, bitcoin, blanket, Brain, bugout, bunker, calgary, call of duty, canada, cancer, cdc, ce¬l¬e¬n¬t¬e¬, Celente, china, china eagle union, china hacker, china hackers, CIA, cisco, cisco routers, cisco routers Truth, clash, Collectivism, Company, Conservatism, coroner, Corporate, corruption, Crisis, cyber, cyber attack, cyber city, cyber command, cyber czar, cyber militia, cyber operator, cyber war, cyber warrior, cybercom, cytokine, dave acton, de population, Destruction, Economic, Economy, Elite, erin brockovich, eugenics, Euthanasia, Family, FBI, Financial, finfinder, flu, Foreign, Freedom, future, g4t, Garbage, ge¬rald, Gerald, Globalist, Greece, gun control, gun grab, Gun-owners, h1n1, h1n1h7n9, h7n9, hack, hacker, ham radio, hipaa, hiv, hospital, illum¬i¬n¬a¬t¬i¬, imf, info wars, jo¬nes, Keiser, Kill, king kull, linda west, lindsey williams, London, lonelygal4u, malware, Max, m¬¬¬¬¬¬¬¬¬¬¬¬¬¬¬¬¬¬¬¬¬ilitary¬, Media, medical examiner, medical martial law, medical surge, middle east, military, Monuments, morgue, morgue bureau, morgue services, msft, murder, new¬, news, nuclear, nukes, nwo, o/s, occupy world, Oil, oracle, order¬, outbreak, pandemic, pepper spray, pgre, pods, prepper, prepper sheep, program, Propaganda, public health, radio scanner, rootkit, Rothschild, router, Royal, rsa, rt, russia today, sandy hook, sandy hook Infowars, s¬ta¬te¬s, scanner, second amendment, shtf, small pox, Socialism, Soft, spam assassin, subliminal messages, survival, survive, Takeover, tarp, Texas, the news unit, uniden, US, us cybercommand, USA, vaccine, vide¬¬¬¬¬¬¬¬¬o, virus, Wall, war, warfare, water filtration, wealth, west Virginia, world war 3, ww3

 

Mar. 12, 2014 at 3:25pm ET: The Nuclear reality now in B.C. Absolutely delivers life ending emergency; The Fukushima Nuclear Radiation and Contamination impact for local marine life, and the effect it has on humans — A radioactive metal from the Fukushima nuclear plant disaster in Japan is now in the Fraser Valley, causing researchers to expose the truth about the long-term impact of radiation on B.C.’s west coast. The soil sample from Kilby Provincial Park, near Agassiz [approx. 100 km east of Vancouver coast], is for the first time in this province full of Cobalt-58, Cobalt-60, Krypton-85, Krypton-85m, Krypton-87, Krypton-88, Rubidium-86, Strontium-89, Strontium-90, Strontium-91, Yttrium-90, Yttrium-91, Zirconium-95, Zirconium-97, Niobium-95, Molybdenum-99, Technetium-99m Ruthenium-103, Ruthenium-105, Ruthenium-106, Rhodium-105, Tellurium-127 Tellurium-127m, Tellurium-129, Tellurium-129m, Tellurium-131m, Tellurium-132 Antimony-127, Antimony-129, Iodine-131, Iodine-132, Iodine-133, Iodine-134 Iodine-135, Xenon-133, Xenon-135, Cesium-134, Cesium-136, Cesium-137 Barium-140, Lanthanum-140, Cerium-141, Cerium-143, Cerium-144 Praseodymium-143, Neodymium-147, Neptunium-239, Plutonium-238 Plutonium-239, Plutonium-240, Plutonium-241, Americium-241 and Curium-242, further evidence of Fukushima radioactivity being transported to Canada by air and water. Its presence in the environment is proof positive of a total Nuclear Contamination from Fukushima. The samples were taken near the mouth of the Harrison River, on Nov. 16, 2013. Samples of chinook, sockeye and chum spawning salmon nearby are nearly all dead and or mutated to near extermination is the total fact of Fukushima Nuclear Radiation Contamination. This is no surprise. It means the ongoing emissions from the Melt-Downs of Fukushima continue its voyage of devastation. It’s a fact to us. This is a planetary issue. The Canadian Government is not doing anything, it should be taking actions to inform Canadians how these contaminants are impacting life, and that there are no levels of Nuclear Contamination that are safe and to expect the worst, that is to come next. The impact on the animals is mind numbing, as is the cumulative impact on the marine environment, which in total provides for all the existence of Humanity. We expect that Humans at the top of the food web are moving towards extinction in the future. The on going long-term effects of Fukushima to all living organisms are uncontainable and the fate of the World is sealed                  Image

Share this:

  • Share on X (Opens in new window) X
  • Share on Facebook (Opens in new window) Facebook
Like Loading...

Where do I get a Big Mac?

09 Sunday Mar 2014

Posted by kolozsvary in Uncategorized

≈ Leave a comment

Tags

2013, 911, agenda 21, Al-queda, alternative media, America, Anti, army, bacteria, Banks, Berlin, bio shield, bio terror, Biological, bitcoin, blanket, Brain, bugout, bunker, calgary, call of duty, canada, cancer, cdc, ce¬l¬e¬n¬t¬e¬, Celente, china, china eagle union, china hacker, china hackers, CIA, cisco, cisco routers, cisco routers Truth, clash, Collectivism, Company, Conservatism, coroner, Corporate, corruption, Crisis, cyber, cyber attack, cyber city, cyber command, cyber czar, cyber militia, cyber operator, cyber war, cyber warrior, cybercom, cytokine, dave acton, de population, Destruction, Economic, Economy, Elite, erin brockovich, eugenics, Euthanasia, Family, FBI, Financial, finfinder, flu, Foreign, Freedom, future, g4t, Garbage, ge¬rald, Gerald, Globalist, Greece, gun control, gun grab, Gun-owners, h1n1, h1n1h7n9, h7n9, hack, hacker, ham radio, hipaa, hiv, hospital, illum¬i¬n¬a¬t¬i¬, imf, info wars, jo¬nes, Keiser, Kill, king kull, linda west, lindsey williams, London, lonelygal4u, malware, Max, m¬¬¬¬¬¬¬¬¬¬¬¬¬¬¬¬¬¬¬¬¬ilitary¬, Media, medical examiner, medical martial law, medical surge, middle east, military, Monuments, morgue, morgue bureau, morgue services, msft, murder, new¬, news, nuclear, nukes, nwo, o/s, occupy world, Oil, oracle, order¬, outbreak, pandemic, pepper spray, pgre, pods, prepper, prepper sheep, program, Propaganda, public health, radio scanner, rootkit, Rothschild, router, Royal, rsa, rt, russia today, sandy hook, sandy hook Infowars, s¬ta¬te¬s, scanner, second amendment, shtf, small pox, Socialism, Soft, spam assassin, subliminal messages, survival, survive, Takeover, tarp, Texas, the news unit, uniden, US, us cybercommand, USA, vaccine, vide¬¬¬¬¬¬¬¬¬o, virus, Wall, war, warfare, water filtration, wealth, west Virginia, world war 3, ww3

Where do I get a Big Mac?

It’s too bad
that most Americans
if when you ask them
can tell you exactly
where you can get a Big Mac
but
ask them anything about
Economy
or
Liberty
or
Fukushima 

and they send you to
Walmart

or
The Statue of Liberty
in
New York.

or
Tepco
In Japan……………………………….

Hey now, I like a burger from time to time
but
Current Liberty , Current Economy, and Concurrent Nuclear Melt downs
are not
Happy Meals 
Nor
An invitation to a 
Chinese Buffet
fortune cookie anyone?
who wants a bail out?

An Isotope?
………….A Shrimp Sushi?

……Sushi! Would you eat it?

http://www.youtube.com/watch?v=lYdAmP6JM68

…………..Do you all still have your Obama phones ?
Call Now……
American Folks are always getting the double deal….. But you need to call NOW!!

Good luck
Imre

Share this:

  • Share on X (Opens in new window) X
  • Share on Facebook (Opens in new window) Facebook
Like Loading...

Dozens rally for end to nuclear Manhattan

09 Sunday Mar 2014

Posted by kolozsvary in Uncategorized

≈ Leave a comment

Tags

2013, 911, agenda 21, Al-queda, alternative media, America, Anti, army, bacteria, Banks, Berlin, bio shield, bio terror, Biological, bitcoin, blanket, Brain, bugout, bunker, calgary, call of duty, canada, cancer, cdc, ce¬l¬e¬n¬t¬e¬, Celente, china, china eagle union, china hacker, china hackers, CIA, cisco, cisco routers, cisco routers Truth, clash, Collectivism, Company, Conservatism, coroner, Corporate, corruption, Crisis, cyber, cyber attack, cyber city, cyber command, cyber czar, cyber militia, cyber operator, cyber war, cyber warrior, cybercom, cytokine, dave acton, de population, Destruction, Economic, Economy, Elite, erin brockovich, eugenics, Euthanasia, Family, FBI, Financial, finfinder, flu, Foreign, Freedom, future, g4t, Garbage, ge¬rald, Gerald, Globalist, Greece, gun control, gun grab, Gun-owners, h1n1, h1n1h7n9, h7n9, hack, hacker, ham radio, hipaa, hiv, hospital, illum¬i¬n¬a¬t¬i¬, imf, info wars, jo¬nes, Keiser, Kill, king kull, linda west, lindsey williams, London, lonelygal4u, malware, Max, m¬¬¬¬¬¬¬¬¬¬¬¬¬¬¬¬¬¬¬¬¬ilitary¬, Media, medical examiner, medical martial law, medical surge, middle east, military, Monuments, morgue, morgue bureau, morgue services, msft, murder, new¬, news, nuclear, nukes, nwo, o/s, occupy world, Oil, oracle, order¬, outbreak, pandemic, pepper spray, pgre, pods, prepper, prepper sheep, program, Propaganda, public health, radio scanner, rootkit, Rothschild, router, Royal, rsa, rt, russia today, sandy hook, sandy hook Infowars, s¬ta¬te¬s, scanner, second amendment, shtf, small pox, Socialism, Soft, spam assassin, subliminal messages, survival, survive, Takeover, tarp, Texas, the news unit, uniden, US, us cybercommand, USA, vaccine, vide¬¬¬¬¬¬¬¬¬o, virus, Wall, war, warfare, water filtration, wealth, west Virginia, world war 3, ww3

Dozens rally for end to nuclear Manhattan
(FB) – 16 seconds ago g+

Manhattan — Dozens marched in Manhattan Saturday to call for the end of nuclear power on the Island, ahead of the third memorial of the Fukushima atomic catastrophe, organizers said.

In Manhattan, protesters blew up balloons then painted slogans on them as “ No Nuke, No More “ and “ No Nuke, Save Manhattan “ as they marched the streets in the glowing snow.

Worries about Manhattan’s atomic facilities have grown since the time Con-Ed- wanted- a-nuclear-plant-in-the-heart-of- NYC and inclusively the 9.0 on March 11, 2011 that triggered the obliterated of 4 reactors and the subsequent melt-downs of all.

Protest organizers demanded the government immediately construct something that could obliterate all nuclear power plants and move nuclear waste to Pluto, said Mr. Daed Kelp, from Nuclear Abolition Action Platform.

“We urge the government to in-act the anti-nuclear demands of the people and not confuse the issues with those of differing opinions “ He said. 

The Manhattan event displaced over 50 people, as three more rallies were simultaneously held across the Island, with an estimated additional turn out of 30, according to last minute estimates by organizers.

Police estimates of the deluge were immediately available.

Manhattan lies 1640 miles from where the cremated ashes of Julius Oppenheimer were scattered into the ocean, raising fears that nuclear facilities could be vulnerable.

Oyster Creek with a supply of 640 megawatts and Indian Point with a supply of 17,000 gigawatt-hours of electricity a year — enough to power more than 2 million 600,000 homes and make the sites 2 of the largest power plants in New York state.

“Both are very unsafe and we want them gone. We want to be nuclear-free,” said Benny, a smoke meat sandwich specialist near Lacey Township, Ocean County, near New Jersey shore, where one of the plants is located.

I think Manhattan could explore different forms of energy production. There is no doubt that by using nuclear energy as in Fukushima, has shown us the way to exterminate all life as ever know to man.

http://www.nrdc.org/nuclear/fallout/?gclid=CLzAjP3ChL0CFaw-MgodJlcAaw

Share this:

  • Share on X (Opens in new window) X
  • Share on Facebook (Opens in new window) Facebook
Like Loading...

It all started in 1955

27 Thursday Feb 2014

Posted by kolozsvary in Uncategorized

≈ Leave a comment

Tags

2013, 911, agenda 21, Al-queda, alternative media, America, Anti, army, bacteria, Banks, Berlin, bio shield, bio terror, Biological, bitcoin, blanket, Brain, bugout, bunker, calgary, call of duty, canada, cancer, cdc, ce¬l¬e¬n¬t¬e¬, Celente, china, china eagle union, china hacker, china hackers, CIA, cisco, cisco routers, cisco routers Truth, clash, Collectivism, Company, Conservatism, coroner, Corporate, corruption, Crisis, cyber, cyber attack, cyber city, cyber command, cyber czar, cyber militia, cyber operator, cyber war, cyber warrior, cybercom, cytokine, dave acton, de population, Destruction, Economic, Economy, Elite, erin brockovich, eugenics, Euthanasia, Family, FBI, Financial, finfinder, flu, Foreign, Freedom, future, g4t, Garbage, ge¬rald, Gerald, Globalist, Greece, gun control, gun grab, Gun-owners, h1n1, h1n1h7n9, h7n9, hack, hacker, ham radio, hipaa, hiv, hospital, illum¬i¬n¬a¬t¬i¬, imf, info wars, jo¬nes, Keiser, Kill, king kull, linda west, lindsey williams, London, lonelygal4u, malware, Max, m¬¬¬¬¬¬¬¬¬¬¬¬¬¬¬¬¬¬¬¬¬ilitary¬, Media, medical examiner, medical martial law, medical surge, middle east, military, Monuments, morgue, morgue bureau, morgue services, msft, murder, new¬, news, nuclear, nukes, nwo, o/s, occupy world, Oil, oracle, order¬, outbreak, pandemic, pepper spray, pgre, pods, prepper, prepper sheep, program, Propaganda, public health, radio scanner, rootkit, Rothschild, router, Royal, rsa, rt, russia today, sandy hook, sandy hook Infowars, s¬ta¬te¬s, scanner, second amendment, shtf, small pox, Socialism, Soft, spam assassin, subliminal messages, survival, survive, Takeover, tarp, Texas, the news unit, uniden, US, us cybercommand, USA, vaccine, vide¬¬¬¬¬¬¬¬¬o, virus, Wall, war, warfare, water filtration, wealth, west Virginia, world war 3, ww3

It all started in 1955, when one breath was taken from this world. Clean and pure the breath was as the rhythm of one heart took its place within the arms of innocent loving arms. The eyes of a soul not yet to mistake the wonders of a world so inviting. The mind of creation on the first night of dreams bestows a pathway to a journey of discovery for this one soul, a new discovery to behold and to be told. Wonders of the world? How many wonders are in this world to now behold and be told? There has been talk of seven wonders of the world, enough talk, thank-you. There is but stillness and cold upon one wonder I behold, the wonder of nine and the sum of a dime plus one. Perhaps an illness has wandered upon and into the grey regions of mankind. The grey dust yet unsettled in the graves unmarked, yet by the blood of angry men, oh the children cry. I cry. …. And now…Fukushima….I still cry.  Imre Kolozsvary.

 

Image

 

http://on.fb.me/1mI3LIb

Share this:

  • Share on X (Opens in new window) X
  • Share on Facebook (Opens in new window) Facebook
Like Loading...

DO I WANT TO KEEP ON SPREADING THE TRUTH …AS I UNDERSTAND IT?……

21 Friday Feb 2014

Posted by kolozsvary in Uncategorized

≈ Leave a comment

Tags

2013, 911, agenda 21, Al-queda, alternative media, America, Anti, army, bacteria, Banks, Berlin, bio shield, bio terror, Biological, bitcoin, blanket, Brain, bugout, bunker, calgary, call of duty, canada, cancer, cdc, ce¬l¬e¬n¬t¬e¬, Celente, china, china eagle union, china hacker, china hackers, CIA, cisco, cisco routers, cisco routers Truth, clash, Collectivism, Company, Conservatism, coroner, Corporate, corruption, Crisis, cyber, cyber attack, cyber city, cyber command, cyber czar, cyber militia, cyber operator, cyber war, cyber warrior, cybercom, cytokine, dave acton, de population, Destruction, Economic, Economy, Elite, erin brockovich, eugenics, Euthanasia, Family, FBI, Financial, finfinder, flu, Foreign, Freedom, future, g4t, Garbage, ge¬rald, Gerald, Globalist, Greece, gun control, gun grab, Gun-owners, h1n1, h1n1h7n9, h7n9, hack, hacker, ham radio, hipaa, hiv, hospital, illum¬i¬n¬a¬t¬i¬, imf, info wars, jo¬nes, Keiser, Kill, king kull, linda west, lindsey williams, London, lonelygal4u, malware, Max, m¬¬¬¬¬¬¬¬¬¬¬¬¬¬¬¬¬¬¬¬¬ilitary¬, Media, medical examiner, medical martial law, medical surge, middle east, military, Monuments, morgue, morgue bureau, morgue services, msft, murder, new¬, news, nuclear, nukes, nwo, o/s, occupy world, Oil, oracle, order¬, outbreak, pandemic, pepper spray, pgre, pods, prepper, prepper sheep, program, Propaganda, public health, radio scanner, rootkit, Rothschild, router, Royal, rsa, rt, russia today, sandy hook, sandy hook Infowars, s¬ta¬te¬s, scanner, second amendment, shtf, small pox, Socialism, Soft, spam assassin, subliminal messages, survival, survive, Takeover, tarp, Texas, the news unit, uniden, US, us cybercommand, USA, vaccine, vide¬¬¬¬¬¬¬¬¬o, virus, Wall, war, warfare, water filtration, wealth, west Virginia, world war 3, ww3

Hello Everyone.  I want to say something about Fukushima and my response to it.

My first reaction of course was focused on the tsunami…and we all know about the story by now. We all blogged that tragic event out to as many as we could.  Having experience with 9/11  we all got real good at spreading the truth.

Question?  Where did all that get us?   If anything, it awakened a lot of people up to how things work on this world.  The bankers, the lawyers, the illuminati, the blood lines, the wars, the climate, cooling warming, Gore, Bush, Obama….the care…”yes we can”  the pyramids, the dogmas,  the guns, the lock down, the loss of liberty,  the constitution, the freedom of speech,  the economy, the collapse,  the gold/silver,  the Fed.,  out of thin air.. the end of the world 2012, the aliens,  teleportation,  etc,etc,etc,etc.  I’ve just scratched the surface of the long endless list.   You all know the list by now and have blogged about it to the furthest reaches of the stars.  With that in mind here we are…..FUKUSHIMA…The Melt-Downs….The Radiation and Contamination, with more than 1300 elements that spewed out into the air…..into the water of which all are deadly to all life. We have all seen the deaths, the mutations, the diseases, the cancers etc., etc.

With absolutely no way to neither decontaminate nor contain.  Someone could most likely list over a thousand ways you will die from the Nuclear Radiation and Contamination.  Some could provide relief for your pain and suffering during your demise.  Some can provide clean–up solutions to give you hope…The Roy Process,  Keshe and others have some answers to save the planet, and you can look into it, but don’t hold your breath. You have hundreds of detox  procedures you could implement to buy more time. However as you look into the matter…you find the

TRUTH…

“ No One, No Nothing, Can, or Will,… Stop the progressive death spiral of Fukushima “

So here I am blogging and posting as much of the details… as I can…as We can.

BECAUSE NOTHING ELSE MATTERS

Today at this moment I realize… that I can’t save the world.  Today at this moment I realize…I can’t save my Friends.  Today at this moment I realize…I can’t save my family.  Today at this moment I realize…I can’t save anything.

DO I WANT TO KEEP ON SPREADING THE TRUTH …AS I UNDERSTAND IT?…...

Someone please answer me.

Share this:

  • Share on X (Opens in new window) X
  • Share on Facebook (Opens in new window) Facebook
Like Loading...

Video

April-9-2013 @ Piano

17 Monday Feb 2014

Posted by kolozsvary in Uncategorized

≈ Leave a comment

Tags

2013, 911, agenda 21, Al-queda, alternative media, America, Anti, army, bacteria, Banks, Berlin, bio shield, bio terror, Biological, bitcoin, blanket, Brain, bugout, bunker, calgary, call of duty, canada, cancer, cdc, ce¬l¬e¬n¬t¬e¬, Celente, china, china eagle union, china hacker, china hackers, CIA, cisco, cisco routers, cisco routers Truth, clash, Collectivism, Company, Conservatism, coroner, Corporate, corruption, Crisis, cyber, cyber attack, cyber city, cyber command, cyber czar, cyber militia, cyber operator, cyber war, cyber warrior, cybercom, cytokine, dave acton, de population, Destruction, Economic, Economy, Elite, erin brockovich, eugenics, Euthanasia, Family, FBI, Financial, finfinder, flu, Foreign, Freedom, future, g4t, Garbage, ge¬rald, Gerald, Globalist, Greece, gun control, gun grab, Gun-owners, h1n1, h1n1h7n9, h7n9, hack, hacker, ham radio, hipaa, hiv, hospital, illum¬i¬n¬a¬t¬i¬, imf, info wars, jo¬nes, Keiser, Kill, king kull, linda west, lindsey williams, London, lonelygal4u, malware, Max, m¬¬¬¬¬¬¬¬¬¬¬¬¬¬¬¬¬¬¬¬¬ilitary¬, Media, medical examiner, medical martial law, medical surge, middle east, military, Monuments, morgue, morgue bureau, morgue services, msft, murder, new¬, news, nuclear, nukes, nwo, o/s, occupy world, Oil, oracle, order¬, outbreak, pandemic, pepper spray, pgre, pods, prepper, prepper sheep, program, Propaganda, public health, radio scanner, rootkit, Rothschild, router, Royal, rsa, rt, russia today, sandy hook, sandy hook Infowars, s¬ta¬te¬s, scanner, second amendment, shtf, small pox, Socialism, Soft, spam assassin, subliminal messages, survival, survive, Takeover, tarp, Texas, the news unit, uniden, US, us cybercommand, USA, vaccine, vide¬¬¬¬¬¬¬¬¬o, virus, Wall, war, warfare, water filtration, wealth, west Virginia, world war 3, ww3

One of my piano compositions.

I still try to enjoy playing the piano.  Even though I know Fukushima is killing me and the rest of the World.  Can we save any form of life, create life, bring back to life the once immeasurable majesty of all existence.  Let’s all try to think about that as we try to measure the degrees of insanity that has sealed the fate of the World…. And the Wake continues…. with a bit of piano.

 

Piano Composition by Imre Kolozsvary ” Fate Of The World “

Share this:

  • Share on X (Opens in new window) X
  • Share on Facebook (Opens in new window) Facebook
Like Loading...
Newer posts →

Blog at WordPress.com.

  • Subscribe Subscribed
    • kolozsvary
    • Already have a WordPress.com account? Log in now.
    • kolozsvary
    • Subscribe Subscribed
    • Sign up
    • Log in
    • Report this content
    • View site in Reader
    • Manage subscriptions
    • Collapse this bar
%d