KESHE TECHNOLOGIES
SPACE AND ENERGY APPLICATIONS
© The Keshe Foundation. 2005/2006. All rights reserved. Patents pending. Registered office: Stichting The
Keshe Foundation, Rijksweg Zuid 170, NL-6161BV Geleen – The Netherlands
Registration number: 14089728 – Belgian Office: Kapellestraat 51, B-8573 Tiegem – Belgium
Registration number: 14089728 – Belgian Office: Kapellestraat 51, B-8573 Tiegem – Belgium
2
Introduction
http://forum.keshefoundation.org/forum/keshe-official/32016-the-content-of-usb-stick-of-2012-has-been-released-to-public-by-taiwanese-kf-group
The world of science and industry has been searching for ever for an efficient
system for the production of motion and energy.
system for the production of motion and energy.
The reality is that the whole system to deliver this at negligible cost has been
around man for all the time. Man only had to look within his own planet to find
the answer.
Through further understanding of the inner construction of the planets
development of new technologies has become possible for the creation and
control of gravitational field forces within a simple nuclear reactor.
Through the new development and design of Keshe reactors many new
discoveries have been achieved in the past months, as well as there are
many to be discovered.
The size of these reactors could be from as small as a rechargeable battery,
to a few meters for large-scale energies or for space applications.
In the solar systems planets possesses and maintains heat, gravity and
magnetic forces through one integrated system, and most planets in solar
systems have one common element as the source of their energy.
In Keshe prototype reactors based on this new understanding, magnetic field
forces, gravitational field forces and energy are created as one integrated
system as in the planetary system even at room temperature and at
atmospheric conditions.
Scientists have yearned to understand the intellect and mechanisms behind
the secret of creation and maintenance of energy and gravity and motion as
has been achieved in the Universe.
Utilizing these new insights, new methods and technology, a vast amount of
energy and gravitational force as in the universal order can be generated
within the core of man-made reactors.
The Keshe technology is a totally an integrated inclusive system for creating
energy and gravity in the centre of the system.
Using the basic methods of the universal interactions and utilizing new
systems it becomes simple to fly in space, free of man-made fuels and
shackles of gravity.
The energy production of these systems is similar to that of the natural
universal system where the system uses geomagnetic forces and principles to
create energy, magnetic fields and then gravity.
So that it has become possible to achieve the concept of lift without use of
fuel by use of creation of antigravity, and in the space, with ability to be in
possession of gravitational field forces through direct creation of it within the
centre of a system.
Such system technology will incorporate the theories of geomagnetic
atmosphere conditions as the protection, and defend itself from any
environmental and outside physical intervention.
Through Keshe reactors fundamental principles are set out to show how all
these above effects could be very simply attained, all at the same time, and in
a natural universal manner in one system.




Biography
Mehran Tavakoli KESHE
Born In Iran in 1958,
Graduate from QueenMaryCollege, University of London, in 1981 as a
nuclear engineer specialized in reactor technology system control.
He has spent the past thirty years completing systems for production of
gravitational effect and energy on the bases of nuclear Cosmo geophysics
principles, using radioactive materials, hydrogen fuelled reactors which are
environmentally clean and safe.
All aspects in the design of these new system, these being in design, fuel,
control and applications are bases on proven and existing knowledge in the
world of science and technology.
5
Technology Progress
Since 2002 full concentration and effort has been given to finish the full design
of his technology for launch into the scientific world.
He was invited to Belgium by governmental office organization in September
of 2004 for evaluation of his technology.
The technology was considered by scientists at VUB University of Brussels,
by number of professors from November of 2004 until March 2005. The
evaluation report from the university has identified that energy production
through this new technology is feasible.
Since release of this report efforts were made through different organizations
to facilitate the development of different aspects of the technology.
In April 2005 a reputable developing company partner was found for the study
of the practicality of developing this system.
It was accepted that the system is practical and workable to produce as was
reported in the feasibility study by the university scientists.
As of the 17.8.2005 the systems’ preliminary evaluation is complete for the
first “Gravitational and Energy system”.
Three patents for technology have been applied for since early October of
2005 for all aspects of it possible use, covering some hundreds of applications
and additional international patents have been applied for.
By the end of 2005 several static plasma reactors were built, which proved the
theoretical insights stated to be correct. These static reactors work at room
temperature and at normal atmospheric pressure. They provide voltage and
current. Deposits of pure carbon layers are generated, and Raman
spectroscopy has confirmed that these are wall-graphite, also called
graphene.
Since the beginning of 2006 several prototypes of dynamic reactors are built,
some specifically designed to create hovering effects. Such hovering effect
has been achieved. Six reactors are under test and continue evaluation.
The intellectual properties related to this technology have been transferred in
2006 to The Keshe Foundation, a “Stichting” in The Netherlands.
In October 2006 a contract was signed with a nuclear organization in Europe
to replicate independently the tests with static reactors. Which the report
confirms the absorption of CO2 in nano layers, at room temperature and
6
atmospheric condition. Which this is considered a major breakthrough by
Synchrotron nuclear institute in France.
In April the fourth 2007 the European patent office have published two patent
applications, patent applicant and inventor M T Keshe.
1. Patent application publication number 1770717 titled “Gravitational
and Energy system”. In this patent application full design of nuclear
reactor developed for creation of gravitational field based on natural
geophysics has been developed and tested has been published.
2. Patent application publication number 1770715 titled “ Micro plasma
reactor”. In this patent application full design of nuclear reactor
developed for creation of energy for micro systems which has been
developed and tested are published.
7
Keshe Theory
The Keshe Theory is named after the nuclear engineer Mehran Tavakoli
Keshe. For the production and control of gravitational fields forces within a
dynamic and static reactors.
This new theory has been proposed under the assumptions that in the inner
core’s construction of the planet Earth there is an additional factor, which has
been overlooked by the scientific world.
A number of new technologies have been developed around this new
discovery to prove the correctness of this theory.
Historical assumption
Historically, geophysicists over decades and centuries have assumed that in
the inner parts of the Earth, there are two cores: One Inner core and one
Outer core.
Currents are produced through the motion of the materials in the outer core
through convection and interaction with rotation of the metallic inner core,
which leads to the creation of the magnetic fields of the planet.
These magnetic fields manifest themselves in the outer boundaries of the
planet as the atmosphere. Where these planetary magnetic fields interact with
the magnetic field of the Sun, the magnetosphere of the planet is created.
Fig.1 Existence of two inner cores.
8
Recent observations
Through analysis of seismological data’s, which was gathered around the
world in the past thirty years, scientists are confirming the existence of
another cavity in the solid inner core of the Earth.
Professor Guy Master [http://www.igpp.ucsd.edu/ne/2005/05/26.html]
estimates the size of this new core diameter at around 600km.
Dr. Miaki Ishii at HarvardUniversity measures the innermost inner core of the
earth at the radius of about 300Km.
Fig. 2: Earthquake data-analysis confirms the existence of a three cores
configuration in the inner sanctum of the planet.
Other scientists’ assumptions about the material contents of the new
core
9
Geophysicists assume that the content of this new core is made up of
heavy materials like uranium, plutonium and others, which sank to the centre
of the planet, which through process of fission and nuclear decay, cause the
heating of the inner core of the planet.
Keshe’s assumption for the material contents of the new core
Keshe assumes that the content of this new core consists of a mixture similar
to the one found in the rest of the solar systems. This assumption being that
the core is made up of a mixture of elements like hydrogen, nuclear materials
and other minerals.
The assumption in this theory for the presence of hydrogen in the centre of
the planet comes from the understanding of the behavior of hydrogen
electronegativity in the magnetic environment of the planet at the time of its
inception, which can be compared to the real evidence of presence of
hydrogen in the solar system.
Fig 3 : Material positioning and composition in the centre of the planet
has parallels with the solar system.
It has been assumed (through acknowledgement of known laws of physics
and the rotational characteristic of our solar system) that most of the system’s
gasses are collected in the outer boundaries of the system in giant gas
planets like Saturn and Jupiter.
10
It is an undeniable fact that hydrogen (which is the lightest of the gasses
and makes up for 90 % of the total mass of our solar system) is positioned in
the centre of the sun. The positioning of hydrogen in the centre of our planet,
surrounded by a metallic inner core followed by a layer of gasses in our
atmosphere, has parallels in the solar system. Proof: the Sun, with its
hydrogen mass is surrounded by metallic and then giant gas planets.
Thus, the existence of a hydrogen mixture in the centre of the core of our
planet is realistic and is in accordance to the physical, parallel realities of what
we observe in our solar system.
It is my understanding that a certain amount of hydrogen has been deposited
in the centre cores of the Earth. Which this happened during the creation of
the planet and is the result of the interaction between hydrogen (with its
electro-negativity properties) and the rotation of magnetic fields and the
available materials in the solar system.
In order to distinguish this new core from the previously discovered ones, this
core has been baptized the Caroline core. For development purposes,
reactor set-ups have already been created in a lab environment to prove
these theories.
The source of the heat in the new centre core of the planet
It can be explained that the heating of the planet’s inner cores are due to the
combined presence of hydrogen atoms and heavy radioactive materials in this
core. The partial heating of the Caroline core comes from the hydrogen’s
atom ionization, and partially through the nuclear decay of heavier radioactive
materials.
During the process of ionization, the atomic hydrogen, releases its electron to
generate the current in the core. At the same time the plasma of the hydrogen
atom, in presence of the magnetic fields, generates a current within the
plasma of the inner core. This phenomenon is also used in the operation of
Tokamak reactors.
The production of heat in the Caroline core can be explained as such: it is the
result of the slowing down of the hydrogen electrons and the plasma’s loss of
energy combined with the nuclear decay of the heavier elements inside the
core.
The process of the magnetic field from the outer core being super-imposed on
the materials of the inner Caroline core is the exact the same principle that
scientists use in the operation of fusion reactors.
M.T. Keshe calls this method of heating a semi-fusion reaction, and his
reactor a semi-fusion reactor.
11
Creation of magnetic fields in the cores of planet
It is known fact that, due to motion of high temperature materials in the liquid
state, through convection in the outer core of the planet, within a rotational
metallic environment of the inner core, magnetic fields (Fig.1 PME or
Fig2.PME2) of the planets are considered to be generated.
This is one of the fundamental principle assumptions of the creation of
magnetic field of the Earth.
By the same principle and due to the presence of liquid, metallic matter and
charged ions and electron’s within the Caroline core of the earth, the same
principle applies to and deems to be correct, for the Caroline core.
Where in principle this core generates its own independent magnetic fields
(Fig 2 PME1).
Consequently it is possible to confirm the existence of the two independent
rotating magnetic fields PME1 and PME2 within the centre of the planet,
separated by the solid inner core of the Earth, which is considered to be about
600km thick.
Where the significant proportion of the magnetic field of the Caroline core is
generated through and due to the larger by order of magnitude through
hydrogen plasma.
Where due to the higher positive charge of the plasma leading to generation
of a much more powerful current and consequently more powerful magnetic
field in the Caroline core than the magnetic field generated by the electrons
through convection in the outer core of the planet.
Where the smaller volume of hydrogen by proportion in the Caroline core
compared to the larger volume of the matter in the outer core, allows near
enough balance condition in the properties of the overall magnetic fields of the
planet.
12
Definition of Keshe Theory
It is scientifically accepted that when two dissimilar poles of two magnets are
brought into proximity of each other, according to their individual respective
magnetic field strength, they are attracted to each other, or, they create
attraction or a pulling force field within their immediate vicinity.
The magnetic strength of these two fields can dictate the positioning of other
attractable matters that are in the vicinity of these fields.
At the same time, depending on the size and weight of the matter, the object
finds its position within the field created by the two fields according to the
prevailing field strength.
This positioning of the matter is in reality the attraction field strength of the
magnetic field, which is created through the interaction of the two magnetic
fields of the two poles.
In the planetary system like the Earth, the two magnetic fields are created in
the Caroline core and the outer core in their dynamic spherical shaped
containment, are due to liquid, atomic and plasmatic state of matter and not in
solid magnet state.
Thus they produce an attraction field that is dynamic and spherical in shape in
its environment
The interaction of these fields upon each other dictate the attraction field or
what is called the gravitational field of the planet.
The Keshe Theory states ”The creation and control of gravitational fields of
planets originate from the interaction of at least two independently created,
spherical and superimposed magnetic fields up on each other in the inner
cores of planets”.
By understanding this theory, it has become apparent why different planets
hold on to different materials.
This primarily being due to the fact, that as atoms and molecules are made up
of magnetic fields of different strengths, thus different elements are attracted
to their own magnetic field strength level that matches a given planet or star
magnetic field.
13
Fig 4 : The new understanding of configuration of the inner cores of the Earth
and their effects on the creation of gravitational and the magnetic fields of the planet.
These principles can now easily be explained and replicated in simple
systems.
Therefore it should be possible to make systems which gravitational field
strength can match composite matters like plastic or CO2, or single matters
like oxygen.
This new understanding of creation of gravitational effects creates
opportunities for the scientific world to develop simple systems that can
absorb CO2 from air directly, or composite matter from liquids for uses such
as extraction or purification of matter, without the need for centrifuge systems.
14
Application of the Technology in Space and for Energy production
Through understanding of this concept it is now possible to create and
develop systems, which allow one to control the magnetosphere of the system
as Prof. Robert M. Winglee [Mini-magnetospheric plasma propulsion] (M2P2)
(wikipedia.org/wiki/Mini-magnetospheric _plasma_propulsion) but one can
create gravitational systems like NASA [http://science.nasa.gov//headlines
/y2000/ast04oct_1 .htm].
Fig 6 : One of the prototypes of the Keshe Reactor’s developed for creation of
multiple superimposed magnetic field concept.
This technology could be used for purposes of motion and positioning in
space where the system would work within the forces of gravity instead of
having to overcome them, which is still the case with today rocket technology.
Systems equipped with this technology works within and through the
gravitational fields and the magnetic field forces of the planet to achieve lift,
motion and position in respect to the planet or a solar system gravitational
field and magnetic fields forces.
Several prototype cores have been developed to achieve these effects to
prove the concepts and the theories.
Based on the new understanding of the cause of the rotation of planets, a
simple rotating ball mounted with fixed magnets, and placed in the same
manner as the present configurations of the generators in the power planets,
in the coil winding environment of a generator, will generate electricity without
creating any CO2, or wastes.
Patent applications for “Gravitational and Energy system”, and “Micro plasma
reactor” based on these principles developed have been published on
4.4.2007 by the European Patent Office.
15
Patent Applications
Keshe European patent application publication
1. The Gravitation and Energy system
[http://v3.espacenet.com/textdoc?DB=EPODOC&IDX=EP1770717&QPN=EP
1770717]
16
2. Micro plasma Reactor
[http://v3.espacenet.com/textdoc?DB=EPODOC&IDX=EP1770715&QPN=EP
1770715]
17
SPACE APPLICATIONS OF KESHE REACTORS
A new insight into the use of the gravitational system of this technology for
use in the flight and space technology.
The technology behind the development of this reactor goes back to basic
understanding of the laws of physics.
The concept of creation of gravity and antigravity by this reactor is on the
basis of the understanding of the cooperation, interaction and application of
the atomic structure of the gases and matters up on each other.
The principle of the behaviour of gases and liquids in the environment has
been studied and catalogued in detail. Where these are considered to be
important factors in development of any energy system, which has to be
portable and light, but at the same time flexible, energetic and functional for it
to be used for its merit in any system.
When looking at planets, stars or the system in the universe in possession of
Plasmatic magnetic field PMF (passive magnetic field), which is nearly all of
them, they always rotate.
The reactors developed through this technology will create, as their basic
function, heat and motion (being horizontal or vertical) once they are
implemented in any craft.
A craft in motion equipped with Keshe gravitational and energy reactor, will
always be in rotating mode and in possession of a dynamic atmosphere as
has been observed to be the same with any planetary system in the cosmos.
To achieve the desired functions of motion in a craft, one cannot think in the
forms that man has chosen, where burning fuel creates lift.
Planets in the universe do not tank at every fuel station, they do not stand still
and they do not have wings to fly.
Through the reality of the function of systems equipped with Keshe Plasmatic
magnetic reactors, systems from now on will operate within the magnetic and
gravitational field of the planet to attain its position, rather than as at the
present time system where they have to create forces to fight the gravitational
force for the system to attain height and motion.
The gravitational forces created within the reactor core through the specific
design characteristic of this system, will not fight the gravitational forces of the
Earth, as does the present aircraft technology. These reactor systems works
within the gravitational parameters of the earth to move within its forces.
In the motion created and achieved through operation of the reactor being
18
able to generate PMF, the object is at all times protected by a magnetic
field shield. This is what is called the atmosphere of the planets.
As these reactors generate plasmatic magnetic fields within its cores, it has
been tested and observed that system equipped with these type of reactors
always create spherical magnetic fields, which can be made to span beyond
the physical boundary of the reactor, the system and further beyond the
boundary of the system.
Test on a number of 22 cm diameter core (Fig. 7) have shown to create
spherical magnetic effects shielding of 4 meter for specific reactor loading
mixture. where in these tests incoming radio frequencies where totally
jammed in reaching radio sets which were on and receiving information and
playing music, to a total silent radio were no radio waves where received by
the radio, due to total abortion of the radio waves by the magnetic field
created by the reactor.
Fig. 7. One of the gravitational prototype reactors
This given the system what is called the magnetic atmospheric or magnetic
shielding.
19
In these systems, due to their multiple core system designed for control
of the strength of the magnetic fields created, this gives the system protection
from any incoming object as atmosphere of planets give protection to the
planet from objects or cosmic dusts.
This type of magnetic shielding is totally harmless and matches the PMF as
encountered in daily life on Earth.
The system fitted with these type of reactors creates the illusive shield effect
that scientist have been searching for in the past decades. Where there are
no chances of destruction of the craft by an outside object once the system is
in use.
The advantage with this system is that size does not matter, as one can see,
planets with billions of tons of dead weight rotate and move, and possess
gravity and shielding without any difficulties.
In understanding the new concept of being able to create the double magnetic
field force within the Keshe reactor, using the ability to create the gravitational
forces in the reactor’s core one can create verities of gravitational field forces
to be attracted or replied by the existing field force of the planet. That a craft
will be able to move within gravitational forces of the earth. This gravitational
field force could be made to any size.
By understanding this phenomenon and being able to create and control the
magnitude of the gravitational field within a reactor, the same objective as
planets, to move large masses, can be achieved.
Hence as far as one can control the boundary of the gravitational field of the
reactor, size of the material and the weight of the material within this
boundary, will not effect the operation of the reactor’s gravitational forces.
Consequently the size of the craft becomes irrelevant.
Craft using Keshe reactor technology, due to the presence of magnetic field
effect created by the reactor operation, or what is called the magnetic sphere
created by the system, in interaction with, the charged particles upon each
there within the atmosphere of a planet, these systems will always create light
and will look like a shining brilliant light, as in fluorescent tubes.
This is why to a naked eye systems equipped with these reactor will look like
a shining disks, which cannot be detected on the radars.
20
FIG.8: Silver glow created due to the interaction between the magnetic field
generated within the reactor and the charged particles of the surrounding
environment.
The light created (Fig.8), originates in the interaction between loose charged
particles in the earths atmosphere and the magnetic fields created by the core
of the reactor to overcome the gravitational force of the earth.
This is very much like the light from a fluorescent tube. This is why the lights
from these type crafts will have a silvery bright colour.
Opposite to the jet crafts, where the craft is ahead of the jet vapour trail, in
these types of craft equipped with Keshe reactor, the craft is positioned
somewhere at the end of the light opposite to the direction of motion. This
system will leave no traces like jet vapour.
Tests have shown that dynamic plasmatic magnetic field created by these
reactors are and have a stealth effect when the craft is within an atmospheric
condition.
That is to say that the magnetic field created by the reactor will absorb the
radar frequencies wave within its magnetic fields. This is why these objects
will appear invisible to present radar systems.
The physical body of the craft using a Keshe reactor will never come in touch
with the atmospheric elements due to the plasmatic magnetic field strength
created around the system due to the operational characteristic of the reactor.
21
This meaning that the problems due to atmospheric friction and
expansion of the craft as with the Concorde, rockets and space programs in
the past and at the present, are non existent for systems using the Keshe
reactor technology.
In space programs, which this system is primarily designed for, there will be
no atmospheric heating and no need for heat shielding tiles for re-entry into
any atmospheric conditions.
This being due to the fact that dynamic magnetic atmosphere created by the
reactor in its interaction with the atmosphere of the planet will create
magnetosphere at a pre determined distance from the physical systems
boundary that the planetary magnetic field will never will come in touch with
the physical body of the craft.
The dynamic plasmatic magnetic field created by the reactor allows the craft
to maintain a zero friction principle in the atmospheric conditions.
This is literally like creating an independent magnetospheric condition within a
planet’s magnetosphere.
This phenomenon is possible and has been seen and studied in detail for
Ganymede, one of the moons of Jupiter. Where the mini-magnetosphere of
the moon embedded within a planetary magnetosphere of Jupiter can be
observed.
22
The KESHE ELECTRIC GENERATOR
The concept of creation of energy for this reactor is on the basis of the
understanding of the cooperation, interaction and application of the atomic
structure of the gases and matters up on each other within a simple dynamic
radioactive plasma reactor.
The principle of the behaviour of gases and liquids in the radioactive
environment has been studied and catalogued in detail by scientific
community over the past decades, which this knowledge are collectively used
in the development of the reactors in this technology.
The reactors for energy purposed are deliberately made to be portable and
light, but at the same time flexible, energetic and functional for it to be used
for its merit in this plasmatic nuclear-based power producing system.
For this system to be able to take advantage of above criteria, the system has
been developed to have hydrogen as its fundamental energy sourer.
These power producing reactor are developed to be a fully integrated Electro-
Nuclear-Magnetic power generator.
The system, at its core, will be generating magnetic field forces, very similar to
those as geomagnetic field forces.
The creation of electric energy in these reactors has been achieved through
the simple process of hydrogen ionisation.
Actual systems
Present power production unites for the production of electricity use different
fuels to generate heat to heat up water to create steam, for the passing of the
steam provoke the rotation of a turbine which is connected to a rotor mounted
with arrays of magnets.
Where mostly these systems produce all sorts of waste products.
23
Fig. 9. Present commercial power production systems.
The new Keshe generators simplify systems simplified for the generation of
electricity. These generators will produce electricity over a long time without
any waste products, since the basic interactions are self-sustaining
Fig. 10. The new commercial power production systems
24
The New Generation
The schematic diagram of a Keshe generator. (Fig.11)
Fig.11. Schematic drawing of the Keshe Generator
A core which spins inside a set(s) of coils.
In these reactors to create plasma, there is a need to separate the electron
from its nucleus by means new methods, where by injecting enough energy
into the atom in a specifically created and developed environment within the
reactor, that the process of ionisation of hydrogen atoms can be facilitated.
25
Fig.12. A prototype tested for the production of energy.
How these conditions and effects are created and used, are the principles
behind the energy and gravity creation of this reactor.
These electric generators can be installed on the locations where current is
needed, like in space crafts or aircrafts, and be as part of an integrated
gravitational and energy producing unit system.
In these reactors, electrons are released from their nuclei with a method that
has been known for some time by scientists, where the reaction is achieved
by a very simple method of magnetic environment injection using natural
hydrogen atoms.
A very simple but effective method especially has been developed for the
application of dynamic plasma in these reactors, where true nature of
hydrogen will reveal its potency in this system as a whole as it has done in the
universe.
Where, how, how much, when and the way matters are applied in these
reactors, will create the desired effect that is required of the system at that
time.
So that the system can be a power generator (Fig. 12), and then with a slight
change in one of the parameters of one of the matters, the system will
become a gravitational machine.
26
Then, by combining the two effects, one will have a system that not only
generates energy, but it holds and maintains gravitational forces and
magnetic field forces as is it occurs in the planetary systems.
With this system one cannot bring in to play the conventional present day
fuels, and methods to create energy and magnetism.
In this system energy production is achieved simply by the normal creation of
heat first, then gravity in the centre of the core, with the help of the generation
of magnetic fields through the right method of circulation and cooling system,
within the reactor.
Through the new understanding of the system of creation of gravitational
forces in planets, it has been proven through reactors, which has been
developed by Mr. M. T. Keshe those systems, which can possess rotation and
magnetic fields.
These systems have produced in a much simpler ways than ever have been
considered to achieve gravitational and energy production in a simple nuclear
reactor.
Where production of the electric current directly from the reactor core is
achievable.
These systems are fuelled by hydrogen, so that there are no possibilities of
radiation leakage or radioactive waste problems due to other effects in this
system.
27
KESHE INTEGRATED SPACE SYSTEMS
Through design and understand the function of matters within static and
dynamic reactors, the principle of the Keshe theory and hypothesis of creation
of gravity has been proven to be correct.
Where the creation and maintenance of gravity in a system has proven to be
dependent on two dynamic cores, in possession of two independent dynamic
plasmatic magnetic energy field forces and totally independent of the mass of
the object.
Where at the same time this gravitational field forces are dependent on the
position of their plasmatic magnetic forces in respect to their plasmatic
magnetic energy field strength from the centre core of the planet.
The centre of planets, does not matter what their inner layers are made of,
need a metallic matter or metallic behavior conditioned matter for the creation
and maintenance of their own electromagnetic effect due to motion electrons
and charged plasma in their core. For it to generate atomic current and
potential difference levels, for the core to maintain independent plasmatic
magnetic energy field force, leading to the creation of plasmatic magnetic
energy field.
Consequently up on the interaction of two such dynamic plasmatic field forces
separated by a physical partition upon each other, leading to creation of
gravitational field forces within the system and in the surrounding area of the
systems parameter.
The interaction of these two plasmatic magnetic energy field forces upon each
other, leading to the new concept of “DOUBLE DYNAMIC SPHERICAL
PLASMATIC MAGNETIC ENERGY FIELD EFFECT”, in the centre of the
planet will lead to creation of the gravitational field force and the magnetic
field forces of the planet.
Therefore, the gravitational field strength of a system manifest itself and can
be explained as the relation to interaction and attraction of two bodies in
possession of dynamic plasmatic magnetic energy field forces created in
respect to each other plasmatic magnetic field position and strength.
It has been proven through reactor tests that the speed of the rotation of the
planet is determined by the speed of the solid inner core of the planet.
Where the speed of the rotation of the planet is set and dictated by the
interaction between the dynamic plasmatic magnetic energy fields of the
Caroline core and the outer core of the planet.
28
Where the motion induced by the strength of the two fields in the centre
cores, upon and interacting within the solid inner core, determines the speed
of the rotation of the inner core, and in turn this will determine the speed of the
rotation of the whole planet.
Where if the speed of the rotation of the planet were not set by the planet by
this principle, then the planet would have had different speeds at different
points in its annual path in circling its star, where the effect of the other
objects magnetic fields in the system would have dictated different speed of
the rotation of the planet at different point in the solar system.
This does not happen, therefore it is correct to assume that the speed of the
planet is controlled by the speed of the solid inner core of the planet.
This motion of the inner solid core is created very much like the motion of the
trains on magnetic tracks.
Where by not allowing the two dissimilar magnetic poles to be realigned, the
train moves forward.
Where in the case of the hollow spherical solid metallic shape of the inner
core of the Earth, this motion is rotational rather than linear.
Through tests, it has been proven and understood for the first time,
That the magnetic polarity change of planet or the system, occurs when
the direction of the flow of current, this being due to motion of electron
or charged plasma in the cores, in the whole of the system changes, to
one direction or the other, or one field change of direction of internal
current causes the half reversal of the polarity of the whole system.
.
This is understandable, as the plasmatic magnetic energy fields are created
due to directional motion of electrons or charged plasmatic current within the
metallic matter in the cores.
Thus it is logical and has been observed in tests that when the direction of the
flow of the current changes, this will change the direction of the polarity of the
planet.
In principle, the outward plasmatic magnetic field force, which creates the
magnetosphere or atmosphere of the planet or the inward plasmatic magnetic
energy fields or so called the gravitational field forces of the planet, are
created by, and is due to motion of the charged particles and their direction of
flow and their interaction with dynamic matters within the core of the planet.
It has been observed in tests, that the plasmatic magnetic energy field of the
core increases by the principle of extraction of the electron from the core.
29
Where, in these tests, electrons liberated in the core through ionization
of the hydrogen were facilitated to be absorbed by the wall of the core.
Where the majority of the field created within the cores were primarily due to
the motion of charged plasmas.
In principle it is observed that the plasmatic magnetic energy of the planet is
primarily due to the motion of the charged plasma in the core and not
their electrons.
In reality the motion of charged dynamic nuclease of an atom has/ and
indeed, possess a much larger electrical charge then its counter part the
electron by factor of 2000 times.
Thus now it is apparent and clear why such a small core in planets can
master such large magnetic field forces within and around them.
Through tests it is understood how planets can carry the burden of such large
mass in their journey through their system for such long period of time of
billions of years with comparatively small size centre cores.
Tests have shown that;
Plasmatic magnetic energy field created by this type of cold condition
plasma using a 20 cm dynamic core has been noted to create a 4 meter
radius dynamic spherical plasmatic magnetic energy field span, which
can last up to several minutes after the switching off the whole system.
That is to say with clarity that the dynamic plasmatic magnetic energy fields
created within the double cores of the planets, determines the magnetic or
gravitation field which the planet will posses and consequently the material
which the planet will holds on to.
This explaining why planets behave like magnets, which only have the
characteristic of one element or several materials plasmatic magnetic band(s)
which covers some and not the other elements, which this dictates the
material composition of the planet within its system.
Where in reality the gravitational field created by the balance of the two
plasmatic magnetic energy field of the core, is the principle factor in
determining the constituent material of a planet, star or a reactor system.
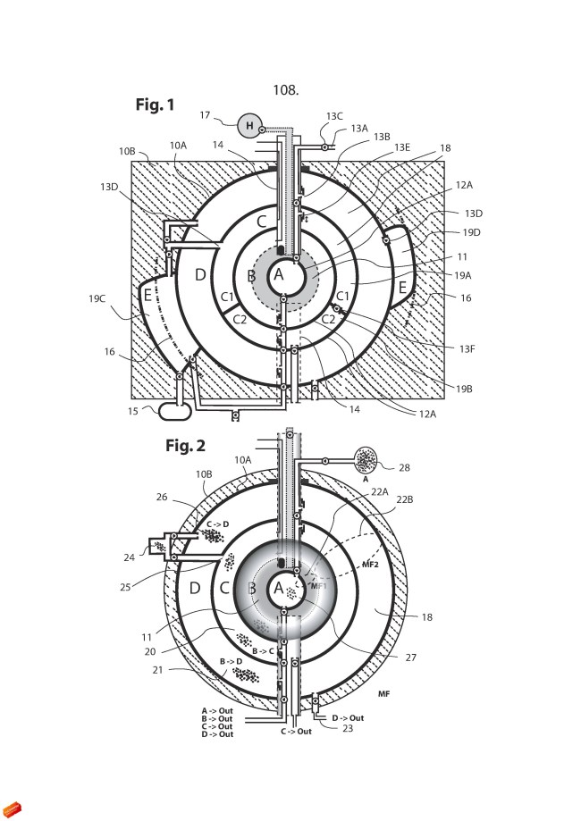
Image, figure 14, shows an integrated gravitational and energy system which
has be developed for Space applications, where the system creates the
magnetic fields necessary for production for magnetic shielding, generation of
gravitational field forces, and energy production unit system.
30
Fig. 14. Physical construction of gravitational and energy producing unit integrated
system.
The creation of the gravitational field forces of a solar system and even the
gravitational field force of the galaxies are not far from the gravitational
system and method’s used in the atomic and planetary systems.
That is to say, that solar systems posses and generate plasmatic magnetic
energy fields like planets and they posses gravitational forces according to
their stars and constituent materials.
In reality if one could stand on the edges of the solar systems, one should be
able to see and detect the gravitational forces of a system, by it simply
absorbing and attracting the entry of cosmic meteoroids and asteroids into its
gravitational and solar magnetosphere region of its solar system.
Solar systems, like planets, posses and create magnetospheres of their own
which is specific to their composition materials.
It is correct to assume that the entry and exit from these solar magnetic and
gravitational fields uses the same method as the entry into or exit out of
planetary systems.
http://forum.keshefoundation.org/forum/keshe-official/32016-the-content-of-usb-stick-of-2012-has-been-released-to-public-by-taiwanese-kf-group